La manticeria è quella parte dell'organo che meno si conosce ma che più è importante per il suo funzionamento. Senza manticeria, infatti, anche il più mirabile e grandioso strumento sarebbe inesorabilmente muto, perchè gli mancherebbe la forza per farlo suonare: l'aria.
Compito della manticeria è, quindi, fornire all'organo tutta l'aria di cui ha bisogno.
Nei primi organi portativi e positivi l'aria era fornita da piccoli mantici posti sul retro dello strumento che venivano azionati, nei portativi più piccoli, dallo stesso suonatore che con una mano suonava e con l'altra "tirava" il mantice. Nel caso di strumenti più grandi, i mantici venivano azionati solitamente da un'altra persona che veniva denominata, appunto, "tiramantici", denominazione che è rimasta in uso fino quasi alla fine dell'ottocento, quando i primi motori, dapprima a petrolio, poi a gas ed infine elettrici, mandarono in pensione questa figura "mitica" ed assolutamente indispensabile nell'arco di quasi mille anni di storia dell'organo e della musica organistica.
Con la costruzione di organi sempre più grandi si arrivò a dover moltiplicare il numero dei mantici per renderne possibile l'utilizzo, e già agli albori del 1500 alcuni strumenti di grandi cattedrali europee abbisognavano di apparati di manticeria di dimensioni tali da dover essere sistemati in apposite sale situate accanto all'organo ed azionati da diverse persone, le quali agivano sui mantici con l'azione alternata delle gambe. Queste macchine di produzione dell'aria erano ancora abbastanza rudimentali e l'aria veniva spinta direttamente dai mantici collegati ai piedi dei tiramantici ai somieri degli organi. In questo modo succedeva che se i tiramantici non erano perfettamente sincronizzati, la pressione dell'aria subiva notevoli cali ed aumenti che si ripercuotevano sul suono dello strumento, con gli effetti che si possono immaginare.
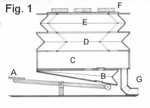
Per ovviare a questo inconveniente si inventò dapprima il mantice di compensazione a singolo scomparto e, in seguito, quello a doppio scomparto con contrappesi, che garantiva una costante erogazione di aria allo strumento alla pressione più adatta alla bisogna. Vediamo lo schema di funzionamento di questo sistema di manticeria nella Fig. 1.

Il tiramantici, premendo e sollevando con i piedi (in pratica si trattava di uno "step" da palestra ante litteram...) la pedana "A" mette in azione il mantice "B" (ovviamente sia le pedane "A" che i mantici "B" sono due e lavorano in modo alterno; quando una si alza l'altra si abbassa e viceversa. Nel disegno, per semplicità, ne è mostrata una sola).
Questo mantice spinge l'aria all'interno del compartimento sovrastante "C", che consiste in una cassa lignea sopra la quale sono posati i due mantici di compensazione "D" ed "E". Come si può notare, questi due mantici si aprono lungo pieghe opposte (verso l'interno uno, verso l'esterno l'altro). Questo accorgimento, che sembrerebbe banale, è invece importantissimo poichè durante i movimenti verso l'alto e verso il basso dei due mantici, compensano vicendevolmente gli sbalzi di pressione che derivano dallo spostamento verso l'interno e verso l'esterno delle pieghe stesse.
Sopra i due mantici sono posati i contrappesi "F", di solito composti da mattoni pieni in numero che varia a seconda della pressione che si vuole dare allo strumento. Per questi contrappesi è importante non solo il numero, ma anche la disposizione sul mantice. A volte è sufficiente spostarne uno di poco per provocare variazioni anche notevoli della pressione dell'aria che, attraverso il condotto "G", viene spinta verso i somieri dell'organo.
Qualcuno si chiederà a questo punto il motivo per cui i mantici venivano azionati dal movimento delle gambe anzichè a forza di braccia. La risposta è semplice: la forza necessaria al loro azionamento poteva essere fornita solo dalle gambe. Muovere i mantici a forza di braccia sarebbe stato faticosissimo.

Verso la fine del 1700, però, grazie alla invenzione di apposite macchine meccaniche, si abbandonò tale sistema e si arrivò a poter azionare apparati di manticeria anche di grandi dimensioni con la forza delle braccia e girando una ruota, così come si può vedere dalla Fig. 2, in cui è raffigurata una di queste prime macchine meccaniche.
Con l'avvento di queste macchine, con un paio di persone si poteva fornire tutta l'aria necessaria anche a strumenti di notevoli dimensioni.
Ben presto però, con l'avvento dei motori a petrolio, a gas ed infine elettrici, si potè licenziare definitivamente la figura del tiramantici, e con essa anche tutti quegli accorgimenti (campanelli, segnalazioni visive ed acustiche ed altro) a cui l'organista doveva ricorrere per segnalare al tiramantici quando era il momento di "tirare" e quando smettere, scongiurando inoltre (e succedeva spesso) il pericolo che il tiramantici, durante i lunghi periodi di inattività che si susseguivano nel corso delle cerimonie religiose, si addormentasse, lasciando inesorabilmente muto l'organo e visibilmente imbufalito l'organista. Questi primi motori venivano utilizzati, semplicemente, collegandoli tramite cinghie e pulegge alle ruote delle macchine precedentemente azionate manualmente. In questo modo si sostituiva, sic et simpliciter, l'azione umana con quella del motore.
Nei primi anni del novecento avvenne un'ulteriore trasformazione delle manticerie. I motori, ormai elettrici, non vennero più utilizzati per azionare le ruote delle macchine meccaniche, bensì collegati a ventole che aspiravano l'aria esterna e la convogliavano, attraverso apposite tubazioni, verso i mantici di compensazione, esattamente allo stesso modo in cui il nostro phon asciugacapelli aspira l'aria esterna e la convoglia verso il tubo di uscita. Con questo sistema si risolveva tutto il problema delle complesse macchine meccaniche, riducendo ingombro ed inconvenienti e dotando gli organi di fonti di aria a pressione decisamente più costante. Questi elettroventilatori, che sono tuttora in uso in tutti gli organi, funzionano come esposto nella Fig. 3.

Il motore elettrico "A" fa girare la ventola contenuta all'interno della struttura "B", la quale aspira l'aria esterna e la convoglia verso la valvola "C", la quale è costituita da una saracinesca collegata tramite un cavo al mantice di compensazione posto al di sopra del tutto. Questa valvola, che si apre e si chiude in modo inversamente proporzionale all'apertura e chiusura del mantice, permette o impedisce che l'aria prodotta dalla ventola passi attraverso la tubazione "D" e raggiunga il mantice sovrastante. In questo modo la quantità di aria che entra nel mantice è sempre costante ed il mantice stesso può svolgere al meglio la sua funzione di regolazione del flusso verso l'organo, garantendo una fornitura d'aria ad una pressione sempre stabile ed omogenea in ogni momento.
Come abbiamo detto, questo è il sistema tuttora utilizzato in tutti gli organi del Mondo. Ovviamente le dimensioni di questi apparati di manticeria variano a seconda della dimensione dello strumento che devono alimentare. Per un piccolo organo da studio il tutto può essere contenuto in una piccola cassetta posta nella base del mobile dell'organo stesso. per uno strumento di medie dimensioni è già necessario ospitare il tutto in una camera separata dall'organo. In caso di grandi strumenti, soprattutto per organi con più corpi sonori e con registri funzionanti a pressioni diverse, di questi apparati di manticeria ne necessitano diversi, ognuno dei quali deve fornire l'aria ed uno specifico corpo d'organo o ad un determinato gruppo di registri. Ottimo esempio di manticeria multipla è quello dell'organo della Convention Hall di Atlantic City (USA) in cui i ventidue corpi d'organo sono riuniti in otto sezioni, ognuna delle quali possiede, in apposite stanze isolate acusticamente e termicamente, il suo gruppo di motori, le ventole di alcuni dei quali arrivano anche ai tre metri di diametro, e di manticerie che producono pressioni d'aria che variano dai 35 ai 300 millimetri al fine di alimentare ogni gruppo di registri. Nella foto sotto si può vedere la sala delle turbine di un grande organo moderno statunitense.